Sema Image
All cables must be installed in accordance with applicable national standards (e.g., BS 7671 and BS 5839-1). Fire resistant, screened cable should be used throughout. Mains wiring should be segregated from extra low voltage field wiring.
Mains Supply: Fixed wiring using 3 core cable (1mm² to 2.5mm²), fed from an isolating switched fused spur at 3A. The supply must be exclusive to the panel.
When testing with the lid open, always isolate Mains and disconnect batteries. Ensure end-of-line resistors are fitted in sounder and detector terminal blocks if testing before full installation.
Power Supply Monitoring CircuitSwitch off the Mains. The BATTERY/POWER SUPPLY FAULT indicator should light and the beeper sound. Reconnect Mains; the panel should revert to normal. Disconnecting the battery should trigger similar fault indicators.
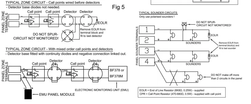
Sounder Monitoring CircuitsShort the sounder terminals 1&2. The SOUNDER FAULT indicator will light. Open circuit terminals 3&4 by disconnecting the end-of-line resistor; the fault indicator should also trigger.
Detector Monitoring CircuitFour conditions can exist:
| Input Voltage | AC 100-240V, 50/60Hz | Capacity | High EMI Immunity |
| Internal Power Supply | DC 30V 3A | Backup Battery | DC 12V/2.2AH * 2 (not included) |
| Total Output Current | ≤200mA @ 220V | Dimension | 325x265x100mm |
| Chipset | 32-bit Micro processor | Operating Temp | 0ºC ~ +50ºC |
| Zones | 1-8 Zone(s) | Material | Iron |






